【CN314智能生活】目前智能手机的趋势是全面屏,上到高端机下到千元机都有其身影,不过去年这种趋势盛行的时候,中兴却“突兀”发布了一款折叠手机,之后华为的终端负责人余承东表示在今年也会推出一款折叠手机,紧接着三星、OPPO等厂商的折叠手机概念图、专利图肆意流出,而近期刚刚退出中国市场的LG也曝光了一份折叠屏幕手机的专利……看着这些厂商们未雨绸缪的样子,让人不禁怀疑,难道继全面屏之后,折叠手机会成为一个新趋势?那么有哪些手机厂商会推出折叠手机呢?它们旗下的折叠手机都长成什么样子呢?今天,笔者就为大家来一波盘点。
LG
近期传得非常火爆的LG折叠手机专利图早在2014年底就向WIPO申请专利了,只不过在2017年11月才获得专利批准。根据专利图来看可折叠手机共有两个方向。一种是手机可折叠,三个屏幕拼合在一起,折叠之后跟常规手机大小一样可以随身携带。另外一种就是中间的屏幕不动,两块柔性屏幕可以不同的方向折叠变化形态。

两种设计都有一个特点,就是将屏幕的视觉效果放大了,而且给予了用户更多的操作可能性。就拿三块屏幕拼接成的折叠手机为例,用户可以直接利用其中一到两个区域来进行分屏使用,顶部的屏幕还可以立起来使用。而且在浏览照片的时候,三块屏幕可以同时显示三张不同的照片,当屏幕开合或者手指滑动屏幕图像的时候,显示的照片会随之改变。

不过由于折叠屏幕时候,许多情况下默认自动关闭屏幕,因此如何利用传感器得知人们的使用用途可能是这个产品需要克服的一点困难。而且这项专利的年代过旧,最终的形成效果可能会和专利不太一致,据悉这款折叠手机会在2019年正式推出,与三星一决雌雄。
三星
三星的折叠手机已经谣传很久了,有些人说明天推出,有些人说今年月底推出,不过值得肯定的是三星要出折叠手机已经是铁打的事实了,而且名字都想好了,取名叫三星Galaxy X。

从专利图中可以看到,手机展开之后屏幕中间并没有出现像中兴Axon M手机的“细线”,用户可以像打开一本书一样打开手机,由于手机屏幕尺寸大概在7.5英寸左右,所以可显示更多的内容,更像是一款小型的平板电脑,横屏或者竖屏操作有了更多的可能性,比如分屏应用不再是鸡肋,同时运行多个程序提高效率等。据悉,这款手机的屏幕将由三星旗下显示屏制造商Samsung Display制造,不过在短时间之内只在韩国上市,这就有些遗憾了。

苹果
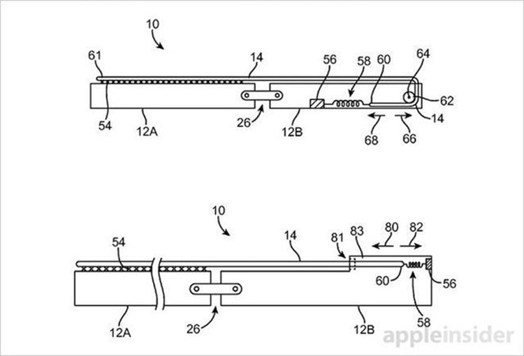
说到这些手机这项黑科技,就不得不提苹果这位大佬级人物了。根据专利文件显示,该专利的电子设备配备了一块可折叠的柔性屏幕,该屏幕并非由两块屏幕组合成的“折叠屏”,而是可以直接通过弯曲的方式进行折叠和展开。

上下两个屏幕都通过一个单一或多重的铰链机制连接,并且可以彼此移动和折叠,而屏幕的内容则通过挠性印刷电路板进行数据交换。简单来说,这和之前三星、LG介绍的折叠手机都不同,它可以将屏幕拉长或者拉短,更像是一种移动式折叠。

OPPO
除了国外的折叠手机专利遭到曝光外,国内厂商也没有落下,而目前遭到爆料最多的就是OPPO了。从专利图片来看,OPPO的专利采用的是铰链+柔性屏幕的组合,手机十分轻薄,它能将手机一分为二,折叠后,手机接近目前正常的尺寸,完全展开后,能够呈现出一块完整的屏幕,不过折叠屏幕屏占比并不是很高,依然有额头和下巴。

其实早在2015年OPPO就已经开始研发折叠手机了,并在2016年完成了屏幕可点亮,之后开始运行Android系统、支持VOOC闪充等技术,因此这款手机在明天还是很有可能发布上市的。

小结
折叠手机虽然看似梦幻,但离开我们并不遥远,最大的特点就是能获得更广阔的视野,有点类似于笔记本电脑的感觉,这样一来就等于扩大了手机容量,可以从中添加更多黑科技了,比如更高的电池容量、更高像素的摄像头等,不过想要研发出真正意义上的折叠手机还是有很多难点的,屏幕边框该如何处理?长期折叠之后屏幕会不会出现痕迹?如何控制机身厚度等,这些还是要等厂商们一一解决的,不管你是否欣赏这种设计,但它的时代终将会到来!